|
|
||||||||||||||||||||||
|
周節制 |
槽型 |
MXL |
XXL |
XL |
L |
H |
XH |
XXH |
||||||||||||||
|
擋圈最小高度K |
0.5 |
0.8 |
1.0 |
1.5 |
2.0 |
4.8 |
6.1 |
|||||||||||||||
|
擋圈厚度h |
0.5~1.0 |
0.5~1.5 |
0.5~1.5 |
1.0~2.0 |
1.5~2.5 |
4.0~5.0 |
5.0~6.5 |
|||||||||||||||
|
帶輪外徑d0 |
見各型號附表 |
|||||||||||||||||||||
|
擋圈彎曲處直徑dw |
dw=do+(0.38±0.25) |
|||||||||||||||||||||
|
擋圈外徑df |
df=dw+2K |
|||||||||||||||||||||
|
模數制 |
模數 |
1 |
1.5 |
2 |
2.5 |
3 |
4 |
5 |
7 |
10 |
||||||||||||
|
Kmin |
0.5 |
1 |
1.5 |
2 |
3 |
5 |
6 |
|||||||||||||||
|
h |
0.5~1 |
1.0~1.5 |
1.0~2.0 |
1.5~2.5 |
2.5~4 |
4~5 |
5~6.5 |
|||||||||||||||
|
特殊節距 |
槽型 |
T2.5 |
T5 |
T10 |
T20 |
|||||||||||||||||
|
擋圈最小高度K |
0.8 |
1.2 |
2.2 |
3.2 |
||||||||||||||||||
|
擋圈彎曲處直徑dw |
dw=do+(0.38±0.25) |
|||||||||||||||||||||
|
擋圈外徑df |
df=dw+2K |
|||||||||||||||||||||
|
圓弧齒 |
槽型 |
3M |
5M |
8M |
14M |
20M |
||||||||||||||||
|
擋圈最小高度K |
2.0~2.5 |
2.5~3.5 |
4.0~5.5 |
7.~7.5 |
8.0~8.5 |
|||||||||||||||||
|
R=(dw~do)/2 |
1 |
1.5 |
2 |
2.5 |
3 |
|||||||||||||||||
|
擋圈厚度h |
1.5~2.0 |
1.5~2.5 |
2.5~3. |
3.0~3.5 |
||||||||||||||||||
|
帶輪外徑do |
各型號附表 |
|||||||||||||||||||||
|
擋圈彎曲處直徑dw |
dw=do+2R |
|||||||||||||||||||||
|
擋圈外徑df |
df=dw+2K |
|||||||||||||||||||||
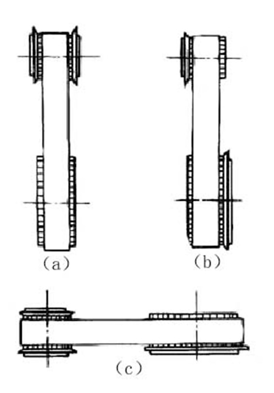
同步帶輪檔圈的設置
|
兩軸傳動 |
(1)
(2)(2)也可在大小帶輪的不同側面各裝單側擋圈,如圖b |
|
|
|
|
|
||
|
|
|
||
|
多軸傳動 |
(1)
(2) |
||
本文由深圳市合發齒輪機械有限公司,合發齒輪17年只做一件事精密齒輪制造—同步帶輪—同步帶,生產廠家標準件大量庫存當天發貨價格優質保障,集研發.生產.服務一體化,

